当前位置:首页 > 乳业百科

奶牛养殖场常见挤奶厅种类详解

作者:挤奶机来源:http://jnj.xdqj.com/时间:2019-08-21
挤奶厅:将奶牛集中到挤奶厅挤奶的方式,因其具有牛奶质量高、工作效率高、便于管理等方面的优点,目前被广泛使用。挤奶厅(台)的形式比较多,常见的有平面畜舍式、转盘式、鱼骨式、并列式和串列式等。
1)平面畜舍式挤奶厅:平面畜舍挤奶厅的挤奶栏位的排列与牛舍相似,奶牛从挤奶厅大门进入厅内的挤奶栏里,由挤奶员套上挤奶器进行挤奶。这种挤奶厅的优点是设备投资小,造价比较低;缺点是挤奶员必须弯腰操作,劳动生产率比较低。但在拴系式饲养场,安装管道设备,奶牛不需要移动,而在原床位挤奶,既可以利用机械挤奶的优点,又节省了投资,所以适用于各种规模的奶牛场,是我国广泛推广的挤奶方法。图7.4为平面畜舍式挤奶厅示意。
奶牛挤奶厅
2)转盘式挤奶台:转盘式挤奶台利用可转动的环形挤奶台进行挤奶流水作业,其特点是奶牛鱼贯进入挤奶厅,挤奶员在入口处冲洗乳房、套奶杯,不必来回走动,操作方便,每转一圈7~10分钟,转到出口处已挤完奶,劳动效率高,适用于较大规模奶牛场。但转盘式挤奶台的设备造价比较高。图7.5为转盘式挤奶台示意。
转盘式挤奶厅
3)鱼骨式挤奶台:这种挤奶台有两排挤奶机,其排列形状犹如鱼骨。挤奶台栏位一般按倾斜30°设计,可使牛的乳房部位更接近挤奶员,有利于挤奶操作,减少走动距离,提高劳动效率,基建投资较少,比较适合中等规模的奶牛场,栏位多少可根据需要设计。
鱼骨式全开放型挤奶厅棚高一般不低于2.45米,中间设有挤奶员操作的坑道,坑道深0.85~1.07米,坑宽2.0~2.3米,具体设计见图7.6。
鱼骨式挤奶厅
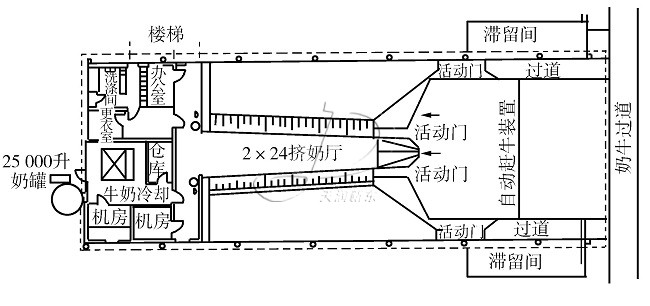
4)并列式挤奶台:这种挤奶台操作距离短,挤奶员最安全,环境干净,但奶牛乳房的可视程度较差,根据需要可安排1×4至2×24个栏位,以满足大(至2 000头)、中、小规模奶牛场的需要。并列式挤奶厅棚高一般不低于2.20米,坑道深1.00~1.24米(1.24米适于可调试地板),坑宽2.60米,坑道长度与挤奶栏位有关。图7.7为并列式2×24挤奶台示意。
并列式挤奶厅
  • 质量保证

    采用100%优质原料
  • 快速发货

    发货速度快免费安装指导
  • 维修服务

    发货起12个月内免费维修
  • 售后服务

    全年无休接受服务请求

如果您需要产品报价或其他服务,可立即拨打电话或者点击下方的在线咨询和我们联系!

免费咨询热线: 0373-5099016
咨询优惠报价

新乡市watchwhes轻工机械有限公司版权所有 Copyright(c)2017 All Rights Reserved 豫ICP备09019551号

网站地图 挤奶机案例挤奶机设备
Baidu
map